流化床反应器,流化床反应器的设计处理能力是什么
1、流化床反应器的设计处理能力是什么
流化床反应器的设计处理能力是什么:
与固定床反应器相比,流化床反应器的优点是:①可以实现固体物料的连续输入和输出;②流体和颗粒的运动使床层具有良好的传热性能,床层内部温度均匀,而且易于控制,特别适用于强放热反应;③便于进行催化剂的连续再生和循环操作,适于催化剂失活速率高的过程的进行,石油馏分催化流化床裂化的迅速发展就是这一方面的典型例子。

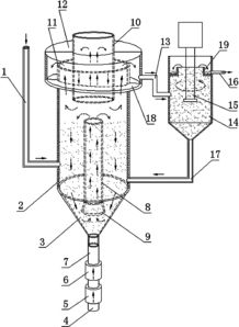
2、反应气体为什么从两个不同高度进入流化床反应器?
流化床反应器(FBR)是一种化工反应器,主要用于固体颗粒与气体之间的化学反应。在这种反应器中,气体通过固体颗粒床层,使颗粒呈现流体化状态,从而增加颗粒与气体之间的接触面积和传质效率。通常,反应气体可以从流化床反应器的两个不同高度进入,原因如下:
改善流体化:通过在不同高度向反应器中引入气体,可以使气体在整个床层中更均匀地分布,从而提高固体颗粒与气体之间的接触。这有助于改善流体化条件,减小床层中局部过热或死区的可能性。
提高传质效率:向床层不同高度注入气体,有助于在床层内实现更好的气体-固体混合。这有利于提高传质效率,使反应速率更快,提高产品的产量和质量。
控制副反应:在某些化学反应中,可能存在多个并发反应,其中一些反应可能产生副产物。通过在不同高度引入反应气体,可以优化反应条件,从而有选择地促进某些反应发生,抑制不需要的副反应。
温度控制:流化床反应器中的化学反应可能是放热或吸热的。为了确保反应在合适的温度下进行,可以在不同高度向反应器中注入气体,使得床层内的温度分布更加均匀,有助于更好地控制反应温度。
提高气体利用率:在一些反应中,气体可能会在床层的一部分区域中被完全消耗。通过在不同高度向床层注入气体,可以确保整个床层都有足够的气体供应,从而提高气体的利用率。
总之,将反应气体从两个不同高度引入流化床反应器有助于提高流体化、传质效率、副反应控制、温度控制以及气体利用率等方面的性能。这将有助于提高流化床反应器的整体效率和产出。

3、流化床反应器热损失的大小
流化床反应器的热损失大小主要取决于热传导和对流散热两方面因素。具体来说,主要受到以下因素的影响:
1. 反应器压力:一般来说,反应器内部压力越高,热损失就越严重。
2. 热传导系数:该系数越大,热损失就越小。因此在流化床反应器设计中,需要采用优良的绝缘材料来减小热损失。
3. 流体速度:该因素同样会影响到反应器内部的热损失。不同速度下的热传导与对流散热的比例不同,导致反应温度变化不同。
4. 反应物的物理性质:不同的反应物物理性质不尽相同,可能对流化床反应器的热损失产生不同的影响。
综合而言,影响热损失大小的因素比较多,具体情况需要综合考虑分析。
4、如何确定流化床反应器热损失的大小
1、首先确定流化床反应器热损失的大小,可以通过测量反应器进口和出口的温度差来计算。
2、其次具体方法是测量反应器进口和出口气流的温度,并计算之间的温度差。这个温度差就是反应器内部化学反应所产生的热损失。
3、最后确定流化床反应器表面的散热所产生的热损失,可以通过测量反应器表面的温度来计算。具体方法是在反应器表面安装温度传感器,测量反应器表面的温度,并与反应器内部的温度进行比较。

请添加微信号咨询:19071507959
最新更新
推荐阅读
猜你喜欢
关注我们

留学规划
留学考试
留学指南
留学攻略
留学生活
留学信息
留学专业
留学签证
关于我们
网站首页




